Монтаж подвесного кабеля. Подвесной кабель для пассажирских лифтов лифтостроительными заводами поставляется мерными кусками с разделанными маркированными жилами. Если подвесной кабель поступил на объект неразделанным в общей бухте, его разрезают на отрезки необходимой длины, которая может быть определена по формуле L = H/2 + (7,5 … 10), где L — длина кабеля, м; H — высота подъема кабины, м.

Более точно длину кабеля определяют с помощью провода-мерки, один из концов которого крепят к клеммной коробке №2 (в середине высоты шахты), а второй опускают в шахту и поднимают затем к центру кабины до уровня порога первой остановки, так чтобы от центра петли до дна приямка было 300-350 мм. К полученной длине провода-мерки прибавляют 4000 мм на подключение к клеммной коробке №3 на кабине и 500 мм — на подключение к клеммной коробке №2.

Каждый кусок кабеля маркируют биркой, указывая на ней тип лифта (грузоподъемность и скорость), число остановок, длину и номер куска.

Рис. 2.18. Закрепление подвесного кабеля в середине шахты (а) и под кабиной (б): 1 — кронштейн; 2 — коуш; 3 — зажим; 4 — бандаж; 5 — подвесной кабель; 6 — трос; 7 — винт заземления; 8 — болтушковый; 9 — уголок

Разрезанный на мерные куски кабель разделывают, жилы прозванивают и маркируют, концы кабеля подвешивают с помощью металлического троса, извлеченного из середины кабеля, на специальных кронштейнах, установленных под клеммной коробкой №2 и под кабиной (рис. 2.18). Подвесной кабель по кабине прокладывают в специальном коробе и крепят скобами.

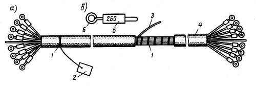
Кабель бывает двух типов: неэкранированный и экранированный. При разделке неэкранированного кабеля(рис. 2.19, а) шланговую оболочку с двух концов кабеля разрезают вдоль по кабелю на требуемую длину и удаляют ее.

Рис. 2.19. Разделка неэкранированного кабеля: а — разделка кабеля; б — оконцовка жилы кабеля; 1 — шнур крученый; 2 — бирка маркировочная; 3 — освобожденный конец стального троса для крепления кабеля под кабиной; 4 — кабель подвесной без металлической оплетки; 5 — трубка полихлорвиниловая маркировочная; 6 — кольцо под контактный винт

Для извлечения троса крепления кабеля к подвеске кабины в соответствии с чертежом вырезают кусок оболочки кабеля на длине 500— 600 мм, отделяют стальной трос и на расстоянии 200 мм в сторону разделки проводов его перерубают. Один перерубленный конец троса (длиной 100 мм) оконцовывают отрезком трубки из полихлорвинилового пластика длиной 50—60 мм и диаметром 5—6 мм и закрепляют ее. Оконцованный тросик укладывают между жилами кабеля, после чего участок открытых жил обматывают крученым шнуром диаметром 1 мм. Шаг укладки шнура 10-15 мм. С каждого конца жилы кабеля снимают изоляцию на длину 25-30 мм и после зачистки концов жил кабеля производят замеры сопротивления изоляции (не менее 0,5 МОм).

На зачищенные концы жилы кабеля, предварительно прозвонив их, надевают трубки из полихлорвинилового пластиката с нанесенной на ней маркировкой согласно чертежу. Затем изготовляют кольца на концах жил проводов с внутренним диаметром 5 мм под контактный винт. Загибку кольца производят по часовой стрелке (рис. 2.19, б). После разделки кабеля его концы, во избежание повреждения и загрязнения, изолируются полиэтиленовой пленкой.

Рис. 2.20. Разделка экранированного кабеля: 1 — заземляющие проводники; 2 — трубка маркировочная; 3 — бирка маркировочная; 4 — шнур крученый; 5 — трос крепления кабеля к подвеске кабины; 6 — поясок из медной фольги; 7 — бандаж из медной проволоки; 8 — кабель подвесной с экранирующей металлической оплеткой

Отличительной особенностью разделки экранированного кабеля (рис. 2.20) является следующее. С концов кабеля, подлежащего разделке, снимают металлическую оплетку путем отрезания отдельных прядей. Для заземления металлической оболочки кабеля на расстоянии 5—10 мм от разделки накладывают бандаж из медной проволоки диаметром 1—1,5 мм и шириной 5-10 мм, предварительно заложив под него заземляющий проводник с зачищенными концами.

Для извлечения троса крепления кабеля к подвеске кабины в соответствии с чертежом накладывают бандаж. На расстоянии 30 мм от него в сторону конца кабеля металлическую оболочку разрезают путем отрезания отдельных прядей и сдвигают ее в сторону от бандажа на 500 мм. На этой длине вдоль кабеля разрезают шланговую оболочку и разворачивают ее, извлекая стальной трос, который перерубают. Длинный конец оставляют снаружи, короткий заизолировывают и укладывают между жил кабеля. После этого на всем пути разреза шланговую оболочку обматывают крученым шнуром диаметром 1 мм с шагом 10—15 мм. Ранее отодвинутый кусок металлической оплетки сдвигается на прежнее место до тех пор, пока отделенный от кабеля стальной трос полностью не войдет в разрезанный кусок металлической оплетки.

Для обеспечения контура заземления и предотвращения повреждения шланговой оболочки острыми концами проволок металлической оплетки, на месте разреза под оплетку надевают один пояс из медной фольги, к которому в отдельных местах припаивают металлическую оболочку с двух концов. После этого на стыке двух концов поверх металлической оплетки надевается второй поясок из медной фольги, который припаивается к металлической оплетке.

Рис. 2.21. Подвеска кабеля в шахте: 1 — винт заземления; 2 — трос; 3 — кабели подвесные; 4 — шнур крученый; 5 — кронштейн для подвески кабеля

При монтаже сначала производят подвеску кабеля у клеммной коробки №2 (конец кабеля с тросом, выходящим вместе с жилами) (рис. 2.21) и под кабиной (конец кабеля с тросом, извлеченным в 4 м от конца) (рис. 2.22). Освобожденные концы троса заправляют коушами на подвеске и закрепляются прижимами на расстоянии 15-20 мм от коуша. Затем на отрезке 20-30 мм накладывают бандаж из мягкой проволоки диаметром 1,5 мм, оставшийся конец троса закрепляют винтом заземления на подвеске, расчленяя отдельные пряди проволок троса. Лишний кусок троса отрезают. Оставшийся кусок троса в кабеле и пришедший в клеммную коробку кабины заземляют.

Рис. 2.22. Подвеска кабеля под кабиной: 1 — подвесные кабели; 2 — бандаж; 3 — прижим; 4 — коуш

Подвесные кабели должны быть размечены и укреплены таким образом, чтобы при движении исключалась возможность их зацепления за находящиеся в шахте конструкции и их механического повреждения. Кабели не должны закручиваться вокруг продольной оси и должны быть скреплены между собой.

После полного окончания электромонтажных работ сотрудник из числа ИТР, имеющий подготовку по электробезопасности не ниже IV группы, должен произвести замер сопротивления изоляции электрических цепей и по результатам замеров составить акт.

Строительно-отделочные работы. По окончании всех монтажных работ лифт передают генподрядной организации для выполнения строительно-отделочных работ по шахте и машинному помещению.

Строительно-отделочные работы обычно выполняют с крыши кабины, на которой устанавливается рабочий настил, предохраняющий аппараты и детали кабины от повреждений. При этом кабину перемещают вручную штурвалом лебедки.

Во время выполнения строительных работ производят заделку всех отверстий и ниш по шахте; очистку и окраску всех металлоконструкций и оборудования, полов и стен приямка и машинного помещения; нанесение необходимых при эксплуатации надписей и т.п.

Шины заземления окрашивают в черный цвет, а боковые поверхности вращающихся частей оборудования (канатоведущий шкив, шкив ограничителя скорости, отводные блоки), сливные пробки, масленки и т.п. — в красный.

После выполнения всех работ генподрядчик передает лифт по акту монтажной организации.

Предыдущая | Оглавление | Следующая


Религия

Биология

Геология

Археология

История

Мифология

Психология

Астрономия

Разное